新型折弯机机座的结构设计
发布时间:
2020-12-22
本方案为一种新型折弯机机座,包括底座,所述底座的左、右两侧固定安装有侧板,所述左、右两侧壁上端固定安装有左、右两刀片导向槽,所述导向槽内转动安装有滚轮,所述底座上表面设有凹槽。
本方案为一种新型折弯机机座,包括底座,所述底座的左、右两侧固定安装有侧板,所述左、右两侧壁上端固定安装有左、右两刀片导向槽,所述导向槽内转动安装有滚轮,所述底座上表面设有凹槽。本实用新型折弯效果好,刀片不易折损,刀片下压顺畅。
1.折弯机机座包括底座,其特征在于:所述底座的左、右两侧固定安装有侧板,所述左、右两侧板上端固定安装有左、右两刀片导向槽,所述导向槽内转动安装有滚轮,所述底座上表面设有凹槽。
左、右两侧板的上端安装有销轴,销轴的侧壁上则设有轴承安装槽。
背景技术
现有技术中,折弯机机座存在结构不稳定,刀片在下压的过程中,刀片易歪斜,容易将刀片折损,影响刀片的使用寿命。
实用新型内容
新型技术目的是提供一种折弯效果好,刀片不易折损,刀片下压顺畅的折弯机机座。
本新型解决技术问题提供如下方案:
折弯机机座,包括底座,其特征在于:所述底座的左、右两侧固定安装有侧板,左、右两侧板上端固定安装有左、右两刀片导向槽,导向槽内转动安装有滚轮,所述底座上表面设有凹槽。左、右两销轴的侧壁上设有轴承安装槽。在机座的左、右两侧板上端固定安装有刀片导向槽,且在导向槽的底部设有滚轮,这样刀片在下压的过程中,刀片能保持竖直方向向下压,保证了刀片的使用寿命,提高了折弯效率。
附图说明
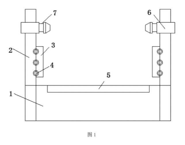
图1为本实用新型的结构示意图。
具体实施方式
参见附图,一种折弯机机座,包括底座,所述底座1的左、右两侧固定安装有侧板2,所述左、右两侧板2上端固定安装有左、右两刀片导向槽3,所述导向槽3内转动安装有滚轮4,所述底座1上表面设有凹槽5。左、右两侧板2的上端安装有销轴6,销轴6的侧壁上设有轴承安装槽7。

实时新闻